Airbus ha registrado en la Oficina de Patentes y Marcas de Estados Unidos un asiento que puede ser la solución par acomodar a personas con sobrepeso, a la vez que también podría dar servicio a discapacitados o bien acoger a dos adultos y dos menores.
En esencia, la idea consiste en que la configuración clásica del asiento de tres plazas podría ser utilizado por dos personas obesas. Para ello, una guía corredera permitiría mover el cinturón de seguridad a fin de «ajustarlo a las necesidades del operador» y «a las de grupos específicos», según explica Airbus.
Otra opción es ubicar a dos adultos en los extremos de la banqueta y en la parte central a dos menores de edad, variante idónea para familias con dos hijos de corta edad. La opción de un asiento o espacio para tres personas ocupado por dos podría encarecer el billete de estos usuarios. En cambio podría abaratarlo si es ocupado por cuatro individuos, pues a partir de cierta edad, las compañías exigen que un menor ocupe una plaza individual.
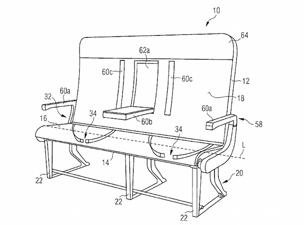
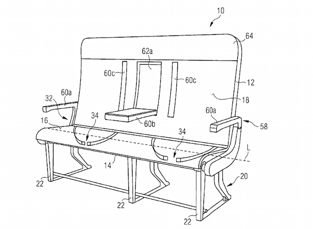
Estas dos configuraciones comportan que los cinturones de seguridad sean desmontables, pues una vez que ya se sabe qué personas van a ocupar la banqueta, se pondrían los correspondientes cinturones. Como se aprecia en los dibujos, el reposabrazos para los dos obesos estaría incrustado en el respaldo.

